反应釜固体物料投料加料的几种方式及优缺点对比
反应釜固体物料投料加料的几种方式及优缺点对比
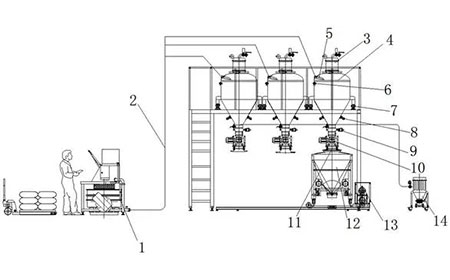
巨宝粉体主要是为食品、制药、及化工行业的客户提供粉体处理技术服务,包括各类粉、固体物料的处理技术与工程设计、开发与应用。另外供应粉体物料的处理设备粉体开袋站、自动卸料仓、以及破块、粉碎、筛分、输送、混合、称重、计量、灌装等设备!
查看详情
锂电池行业真空输送的解决方案
锂电池行业真空输送的解决方案
锂电新能源、化工、新材料等粉体行业受到国家环保政策的高度影响真空负压输送展现了工艺适用性广泛的一面。新乡巨宝机电专注于粉体行业解决方案的输送。
查看详情